找回密码
 立即注册
澳门威尼斯人
U8
U18
海燕招商
A
蓝盾
e世博
islot.
申博亚洲
澳门银河
B
腾博会
德信
C级广告商
吉祥坊
查看: 187791|回复: 55

[真人] 【实战有奖】今天在九五至尊娱乐城骰宝盈利100多

[复制链接]

3706

主题

7万

回帖

7365

金币

海燕硕士

积分
224253

万时之王老会员勤奋勋章交易勋章

发表于 2024-7-8 09:48 | 显示全部楼层 |阅读模式

马上注册,结交更多好友,享用更多功能,让你轻松玩转社区。

您需要 登录 才可以下载或查看,没有账号?立即注册

×
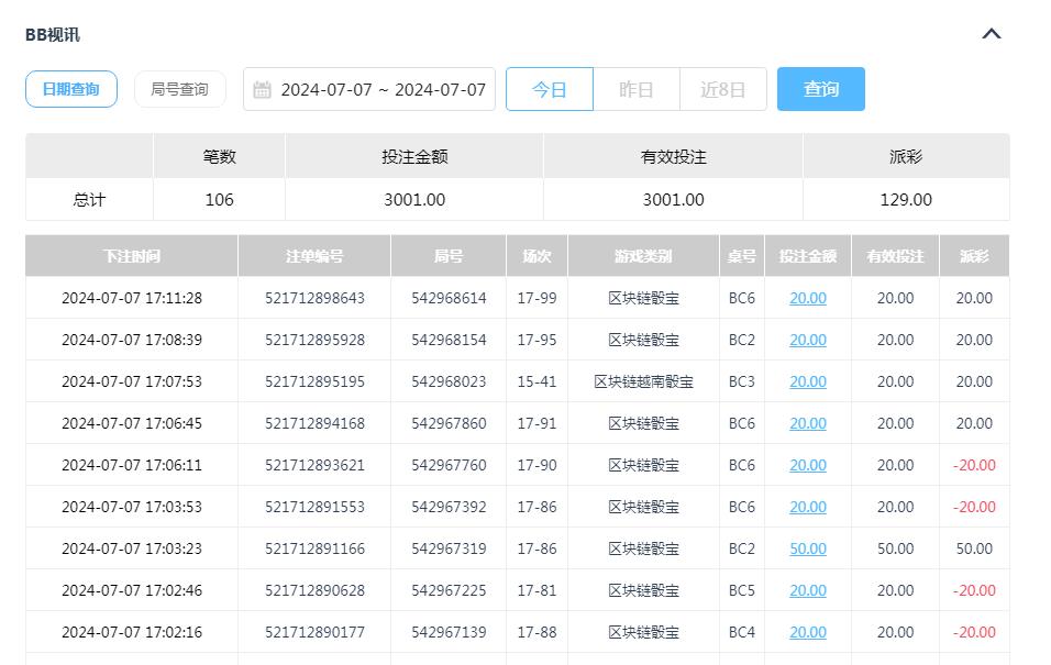
一大早存款100块钱继续玩玩这个区块链色子,还是20一注开始下注,开局玩的还是很成功的小注连红收米几单,后面的下注不给力连黑差一点输光光本金,剩下100块钱本金的时候梭哈了好几次,玩的还是很惊险的,最后的结果就是盈利了100块钱,赢钱了就赶紧撤退了避免输掉更多钱就不好了
5 P' O% N% T/ t
  P, z3 W2 l/ B7 d. _- s 360截图20240708092233649.jpg 360截图20240708092322351.jpg 360截图20240708093740272.jpg 360截图20240708093756700.jpg / S5 b+ z2 j4 Y0 `& P8 Q

0 |8 F8 s. V& e8 K9 y- Z% h今天的色子流水打的不少差一点输光光本金,好在是结果还是很不错的,打出来赢钱已经很知足了,以后不能这样子下注了,输掉几局就上头梭哈,不少今天好运气早就输掉了,打出来盈利100块钱也是值得高兴的结果了+ u! {/ m  D; B/ K; j
360截图20240708092312713.jpg
! T/ r4 j+ V4 r4 k  r! ?% [区块链色子打出来赢钱还是很高兴的,有了盈利就想着玩玩老虎机娱乐一下碰碰运气能不能赢钱,继续玩这个PG麻将胡了2开始0.6一转,10几转后遇到一个免费旋转,打出来40几块钱的盈利,最后的结果剩下20几块钱的盈利,老虎机能够赢钱已经很不错还是好运气来了,这个就当做是娱乐玩玩的额外盈利了* c8 p/ u: P, I, i. v0 |* X
2 a9 i4 h9 ]( o
360截图20240708092526859.jpg
9 Y  t$ o2 L0 x2 v2 P' m9 T; J: ]& ^( l% s* c) o3 a9 m% R- J
回复

使用道具 举报

1053

主题

2万

回帖

8569

金币

铂金用户

积分
74633

老会员交易勋章光影行者

发表于 2024-7-8 10:00 | 显示全部楼层
你这筛宝玩的好啊,这战绩也是很不错的,恭喜你收米了
回复 支持 反对

使用道具 举报

14

主题

1万

回帖

3999

金币

金牌会员

积分
31166

老会员

发表于 2024-7-8 10:00 | 显示全部楼层
楼主的运气真的是很不错的,要是每天都能够盈利100多就好了。
回复 支持 反对

使用道具 举报

36

主题

476

回帖

1335

金币

高级用户

积分
4117

老会员

发表于 2024-7-8 11:01 来自手机 | 显示全部楼层
后面赛宝连赢,过个三关就美滋滋了啊!赢得多一点。不过赢100也不错了
回复 支持 反对

使用道具 举报

665

主题

8232

回帖

6093

金币

金牌会员

积分
28501

老会员交易勋章

发表于 2024-7-8 13:10 | 显示全部楼层
老虎机玩得有你这样厉害是真的牛,佩服你得很啊。我也想去玩老虎机了
回复 支持 反对

使用道具 举报

3411

主题

8万

回帖

9624

金币

海燕硕士

积分
236129

万时之王老会员精华勋章勤奋勋章交易勋章光影行者

发表于 2024-7-8 13:20 | 显示全部楼层
看起来还是玩的非常的不错的呀,最后能够成功的赚到钱,还是很开心的一个结果
回复 支持 反对

使用道具 举报

3411

主题

8万

回帖

9624

金币

海燕硕士

积分
236129

万时之王老会员精华勋章勤奋勋章交易勋章光影行者

发表于 2024-7-8 13:20 | 显示全部楼层
q513102062 发表于 2024-7-8 11:01
& Z0 Y; A$ c1 ]; T后面赛宝连赢,过个三关就美滋滋了啊!赢得多一点。不过赢100也不错了
: ~8 U: S0 U5 |: z! M2 [* v2 z
只要能够赢钱,不管是什么样的游戏还是需要开心的就好了
回复 支持 反对

使用道具 举报

3411

主题

8万

回帖

9624

金币

海燕硕士

积分
236129

万时之王老会员精华勋章勤奋勋章交易勋章光影行者

发表于 2024-7-8 13:21 | 显示全部楼层
展现出 发表于 2024-7-8 13:10- u- L4 I/ _+ e( s$ i6 p
老虎机玩得有你这样厉害是真的牛,佩服你得很啊。我也想去玩老虎机了
. S+ k' _- B! N
玩老虎机的话还是可以多去学习一下,不知道什么时候能够搞出个大奖呢
回复 支持 反对

使用道具 举报

677

主题

4万

回帖

1066

金币

钻石用户

积分
119592

老会员勤奋勋章交易勋章光影行者

发表于 2024-7-8 14:20 | 显示全部楼层
赚到了100多,还是非常不错的一个结果的咯
回复 支持 反对

使用道具 举报

677

主题

4万

回帖

1066

金币

钻石用户

积分
119592

老会员勤奋勋章交易勋章光影行者

发表于 2024-7-8 14:20 | 显示全部楼层
lantianyun 发表于 2024-7-8 13:21
$ W/ q- X. _5 j) Y# y玩老虎机的话还是可以多去学习一下,不知道什么时候能够搞出个大奖呢

& D+ w4 a, n: B2 v3 H反正都是要看的了,不是那么容易遇到大奖的了哦
回复 支持 反对

使用道具 举报

3926

主题

8万

回帖

9491

金币

海燕硕士

积分
245395

万时之王老会员精华勋章勤奋勋章

发表于 2024-7-8 15:21 | 显示全部楼层
经历了100多个大洋,这样的结果也是很开心的,希望这样的运气能够更好一点
回复 支持 反对

使用道具 举报

3926

主题

8万

回帖

9491

金币

海燕硕士

积分
245395

万时之王老会员精华勋章勤奋勋章

发表于 2024-7-8 15:21 | 显示全部楼层
ronald263 发表于 2024-7-8 14:20
7 i9 b: [$ h/ W* V9 T5 w: j反正都是要看的了,不是那么容易遇到大奖的了哦

  m0 w- E. z" a' b; q$ R反正大家都是感觉很不容易的,想要搞那个大奖真的很难
回复 支持 反对

使用道具 举报

3926

主题

8万

回帖

9491

金币

海燕硕士

积分
245395

万时之王老会员精华勋章勤奋勋章

发表于 2024-7-8 15:22 | 显示全部楼层
lantianyun 发表于 2024-7-8 13:216 G2 t3 V1 H) T! {/ F
玩老虎机的话还是可以多去学习一下,不知道什么时候能够搞出个大奖呢
5 X. W' d( p8 H( }9 |6 ~1 o
老虎机这个也是需要自己好好把握这个运气,可能有的时候就是做不到啊
回复 支持 反对

使用道具 举报

2629

主题

5万

回帖

6002

金币

钻石用户

积分
176570

万时之王老会员精华勋章勤奋勋章交易勋章

发表于 2024-7-8 15:30 来自手机 | 显示全部楼层
楼主玩骰宝真是很厉害的了,经常有赢钱,今天赢了100多块钱,很不错的
回复 支持 反对

使用道具 举报

2629

主题

5万

回帖

6002

金币

钻石用户

积分
176570

万时之王老会员精华勋章勤奋勋章交易勋章

发表于 2024-7-8 15:31 来自手机 | 显示全部楼层
左西右东 发表于 2024-7-8 15:21
. T+ i- ?4 Q0 ~9 \. g经历了100多个大洋,这样的结果也是很开心的,希望这样的运气能够更好一点 ...
' {7 j; G" B8 V( Q
盈利了100多块钱挺好的了,玩得很好,继续加油多多赢钱
回复 支持 反对

使用道具 举报

您需要登录后才可以回帖 登录 | 立即注册

本版积分规则

广告合作|福利汇|论坛简介|钱包教程|手机版|小黑屋|Archiver|海燕论坛

快速回复 返回顶部 返回列表