找回密码
 立即注册
澳门威尼斯人
U8
U18
海燕招商
A
蓝盾
e世博
islot.
申博亚洲
B
开云
腾博会
德信
C级广告商
吉祥坊
华体会
查看: 25725|回复: 74

[彩票] 【实战有奖】威尼斯人台湾宾果连挂后稳收,亏损2450止步

[复制链接]

77

主题

1万

回帖

5985

金币

千足金牌会员

积分
63779

老会员交易勋章魅力达人

发表于 2025-10-6 16:17 | 显示全部楼层 |阅读模式

马上注册,结交更多好友,享用更多功能,让你轻松玩转社区。

您需要 登录 才可以下载或查看,没有账号?立即注册

×
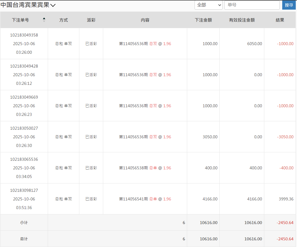
今天下午打了台湾宾果这一轮,整体过程挺曲折,但也算控制住了节奏。大概从下午三点左右开始进场,当时看走势总和“双”连开几期,手痒了,于是轻仓试单。原本打算随便玩玩,结果越看越不对劲,单双频繁切换,让人有点摸不清节奏。; e: d0 ^  R7 ^" m" Z
, r1 Q* x" |5 Q3 Y
这轮总共下了六单,前几把基本都在试探走势。结果连续几期都反着来,尤其是那笔3050的“总双”,被直接吃掉,账面一口气红到三千多。那一瞬间心态确实有点晃,手差点又去补仓。后来想到之前吃亏的经验,强行让自己停手,看完那期结果就去洗了个脸。% l9 `7 Y; O+ R, E4 a$ e

* I: t, y8 I! N; l  R. _- V9 S; I回来后重新看走势图,发现节奏有点回稳,于是再上两把“总单”试水。最后一单我加到4166,打的第114056541期,终于中回来了3999.36,这口气算是稳了。整盘下来,亏了2450左右,折合人民币不到两千。# ^: M  ?$ K% ]4 b& L/ Z8 Y+ Q* P

& w6 C! ^  @+ i# ^* N账面上虽然是负的,但我个人觉得这轮打得比前几次更“成熟”——不是赢多少的问题,而是我终于没再乱追。这次BBIN那边转入了10616,转出回大厅时剩8165,虽然账面亏损,但过程有节制、心态稳,算是一次小考合格。
# o8 s6 D5 P. F7 w' x% ^! G' N3 H3 n
' ~6 ^* a, ~9 ~6 b3 ]+ u4 R过去我常常一看挂单就想加码“赢回来”,结果反而输更惨。现在我学会了一件事:赢钱靠机会,止损靠自律。只要不被情绪带走,长期来看反而能少损多赢。- o2 f; k7 q0 @! D( ^8 {3 ?
- f% O9 h. ~- X$ g- u1 ]4 M9 `
另外,这轮台湾宾果的走势挺诡异的,总和单双跳得快,没有出现连续7期以上的连号。下午那段时间尤其乱,建议后面玩这盘口的兄弟们注意节奏,不要被短线结果误导。可以像我这样——前几期用小注探路,等走势方向稳定后再加码。! t, k. B' b& N9 g" S5 J
# b" a" Q5 L7 `0 `$ C0 p" c5 _
这次我还特地看了下注明细,总金额10616,有效投注全打满,亏损-2450.64。虽然是红的,但我反而挺高兴,因为这说明我守住了底线:没追加、没爆仓。0 X" E; S* o$ |9 C7 g# q; U. x
" Y9 }! x) o0 l1 z
最后总结一句:3 n$ _* O- V  A. R
输钱不可怕,乱输才可怕;稳得住,才是真正的赢。
# @* N3 Q+ w8 m& a" g+ E
' o, l" d$ }0 e& T1 d5 r& y7 ~这两天论坛不少人也在分享台湾盘的节奏,我的经验是——宁可打慢,也不要乱节奏。未来几天我会继续观察走势,等连号或规律性区间出来,再考虑加仓。今天就到这,休息一会,晚上再看情况。) E& J- X  @: w/ m1 @' M; [) @0 |

, L7 s6 s: u' e& M QQ20251006-160203.png QQ20251006-160102.png 9 b. v$ X6 i, l$ R; R+ f. A

6 ?/ ]; ?0 {: v9 H' z1 \. T7 Z. H# o8 o; k% U6 D# \5 h5 D
回复

使用道具 举报

1

主题

4994

回帖

4198

金币

金牌会员

积分
23389

老会员

发表于 2025-10-6 16:22 | 显示全部楼层
楼主亏损了还是要止损,回血了一大半还是挺不错了
回复 支持 反对

使用道具 举报

197

主题

6859

回帖

148

金币

银牌会员

积分
13995

老会员交易勋章

发表于 2025-10-6 17:56 | 显示全部楼层
你还玩这个啊,我是真没玩过这类彩票,是彩票没错吧,止损做到位就好
回复 支持 反对

使用道具 举报

7

主题

1万

回帖

6402

金币

千足金牌会员

积分
57886

光影行者

发表于 2025-10-6 19:37 | 显示全部楼层
3050那把真够呛,能忍住不补仓已经赢一半,节奏乱时洗脸是个好招
回复 支持 反对

使用道具 举报

3361

主题

4万

回帖

846

金币

钻石用户

积分
109770

万时之王老会员勤奋勋章交易勋章

发表于 2025-10-6 19:48 | 显示全部楼层
老哥还是低调点吧, 亏损2450, 也是输太多了, 还是要及时收手,真不敢继续了
回复 支持 反对

使用道具 举报

3361

主题

4万

回帖

846

金币

钻石用户

积分
109770

万时之王老会员勤奋勋章交易勋章

发表于 2025-10-6 19:49 | 显示全部楼层
蔬菜沙拉 发表于 2025-10-6 19:37
( Z  }1 ]1 C9 N+ Q1 f3050那把真够呛,能忍住不补仓已经赢一半,节奏乱时洗脸是个好招

6 d+ r' Y# |% i; u3 |玩菠菜还是量力而行吧, 别玩太大了, 输太多了, 也是很影响心情了。
回复 支持 反对

使用道具 举报

3361

主题

4万

回帖

846

金币

钻石用户

积分
109770

万时之王老会员勤奋勋章交易勋章

发表于 2025-10-6 19:49 | 显示全部楼层
二电厂哥 发表于 2025-10-6 17:56, B8 i  I% p" n9 t1 t
你还玩这个啊,我是真没玩过这类彩票,是彩票没错吧,止损做到位就好
5 m9 _0 t  ~( _2 B; j: I
亏损了2450也是输太多了, 这钱能干很多事的了啊, 也是很遗憾了。
回复 支持 反对

使用道具 举报

3361

主题

4万

回帖

846

金币

钻石用户

积分
109770

万时之王老会员勤奋勋章交易勋章

发表于 2025-10-6 19:50 | 显示全部楼层
shunlifeiup 发表于 2025-10-6 16:22
, c2 n0 d  f7 p7 P* V) J* S1 k楼主亏损了还是要止损,回血了一大半还是挺不错了

( c: Q7 R" U! J, L2 K9 n# M- Y损失惨重了呀, 输了这么多, 想回血都是很困难了啊, 还是休息冷静一下吧。
回复 支持 反对

使用道具 举报

336

主题

1533

回帖

4831

金币

银牌会员

积分
13642

老会员交易勋章

发表于 2025-10-6 21:07 | 显示全部楼层
能够及时做到止损啊 还是很不容易的   及时调整吧!
回复 支持 反对

使用道具 举报

50

主题

2万

回帖

5571

金币

千足金牌会员

积分
66540

老会员光影行者

发表于 2025-10-7 02:34 | 显示全部楼层
别急着追,理性把握,稳住节奏,总会有赚钱的时候,节制至关重要
回复 支持 反对

使用道具 举报

50

主题

2万

回帖

5571

金币

千足金牌会员

积分
66540

老会员光影行者

发表于 2025-10-7 02:34 | 显示全部楼层
蔬菜沙拉 发表于 2025-10-6 19:37+ r" E' y; p  H8 w  ?! A' J5 Q
3050那把真够呛,能忍住不补仓已经赢一半,节奏乱时洗脸是个好招

3 Q9 e- |; u5 y) n3050那把确实有点狼狈,不过威尼斯人台湾宾果稳住节奏,亏损2450也算是及时止损
回复 支持 反对

使用道具 举报

2292

主题

7万

回帖

6298

金币

海燕硕士

积分
213438

老会员超级精华精华勋章美女勋章勤奋勋章交易勋章万时之王

发表于 2025-10-7 05:46 | 显示全部楼层
输掉了2000多块能够止损离开也是比较理智的一个人吧
回复 支持 反对

使用道具 举报

2292

主题

7万

回帖

6298

金币

海燕硕士

积分
213438

老会员超级精华精华勋章美女勋章勤奋勋章交易勋章万时之王

发表于 2025-10-7 05:46 | 显示全部楼层
whywhy 发表于 2025-10-7 02:34
5 N1 D" N4 c# B! l( S3050那把确实有点狼狈,不过威尼斯人台湾宾果稳住节奏,亏损2450也算是及时止损 ...

3 C+ U4 O5 I0 n& L. j" G反正自己的节奏要把握好,不然输的就是自己的钱
回复 支持 反对

使用道具 举报

2292

主题

7万

回帖

6298

金币

海燕硕士

积分
213438

老会员超级精华精华勋章美女勋章勤奋勋章交易勋章万时之王

发表于 2025-10-7 05:46 | 显示全部楼层
whywhy 发表于 2025-10-7 02:34
5 u, Y8 D6 u& x" G7 `0 W; k# f  O别急着追,理性把握,稳住节奏,总会有赚钱的时候,节制至关重要
/ _/ `  d' J/ T: p( e! d9 i
这个节奏导致的亏损也是没有办法的事,毕竟输了这么多
回复 支持 反对

使用道具 举报

2292

主题

7万

回帖

6298

金币

海燕硕士

积分
213438

老会员超级精华精华勋章美女勋章勤奋勋章交易勋章万时之王

发表于 2025-10-7 05:46 | 显示全部楼层
莫扎特06 发表于 2025-10-6 19:49
' v6 K5 A7 N& y亏损了2450也是输太多了, 这钱能干很多事的了啊, 也是很遗憾了。
- x& M, I, B& B. m. k7 a' l
输的太多也是要想办法把它搞回来,不然也是难受
回复 支持 反对

使用道具 举报

您需要登录后才可以回帖 登录 | 立即注册

本版积分规则

广告合作|评测有奖|福利汇|论坛简介|钱包合集|手机版|小黑屋|Archiver|海燕论坛

快速回复 返回顶部 返回列表